锘?!DOCTYPE html PUBLIC "-//W3C//DTD XHTML 1.0 Transitional//EN" "http://www.w3.org/TR/xhtml1/DTD/xhtml1-transitional.dtd">
鍚嶇О錛欳2F鍨嬪弻娉曞叞鏉懼浼犲姏鎺ュご
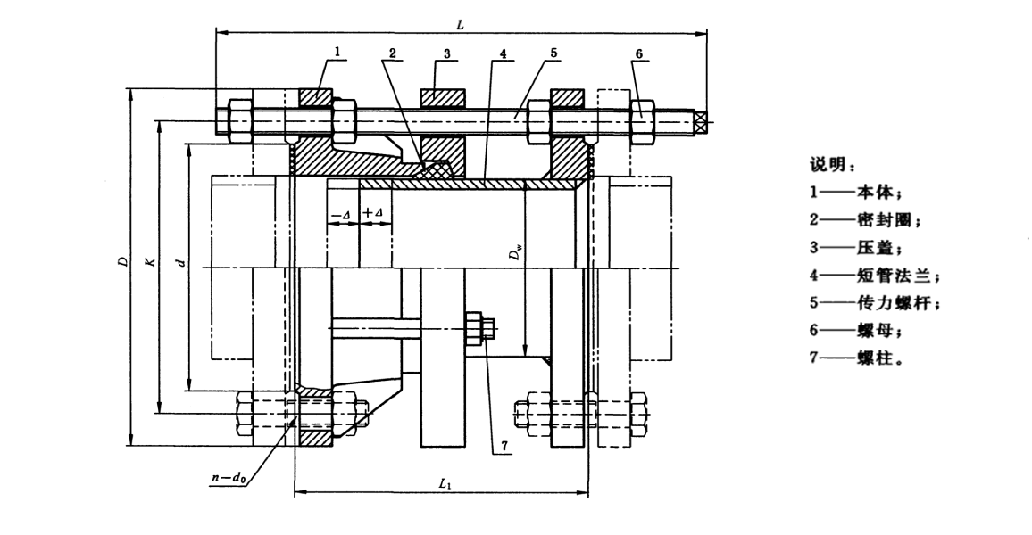
鏍囩錛?/strong>C2F鍨嬪弻娉曞叞鏉懼浼犲姏鎺ュご
C2F鍨嬪弻娉曞叞鏉懼浼犲姏鎺ュご錛屾槸鐢辨硶鍏版澗濂椾幾緙╂帴澶村拰鐭娉曞叞銆佷紶鍔涜灪鏉嗙瓑鏋勪歡緇勬垚錛岃兘闄嶄綆琚繛鎺ヤ歡鐨勫帇鍔涙帹鍔涳紙鐩叉澘鍔涳級鍜岃ˉ鍋跨璺畨瑁呰宸紝鍙屾硶鍏版澗濂椾紶鍔涙帴澶翠笉鑳藉惛鏀惰醬鍚戜綅縐匯€傚弻娉曞叞鏉懼浼犲姏鎺ュご涓昏鐢ㄤ簬娉點€侀榾闂ㄢ€?

鍙屾硶鍏版澗濂椾紶鍔涙帴澶存€ц兘鐗圭偣錛?/strong>
鏉懼浼犲姏鎺ュご鏄湪娉曞叞鏉懼琛ュ伩鎺ュご鐨勫熀紜€涓婂璁炬硶鍏扮煭綆″強浼犲姏铻烘潌鑰屾垚錛屾綾誨瀷鐨勮ˉ鍋挎帴澶翠笌鏉懼琛ュ伩鎺ュご鍜屾澗濂楅檺浣嶈ˉ鍋挎帴澶翠笉鍚岀殑鏄畠鐨勮ˉ鍋塊噺鏄寚鍦ㄥ畨瑁呭強鎷嗗嵏榪囩▼涓殑璋冭妭閲忥紝涓€鏃﹀皢鎵€鏈夌殑铻烘瘝鎷х揣錛屽畠鏄垰鎬ц繛鎺ョ殑錛屽彲浠ヤ紶閫掕醬蹇冨姏錛屼粠鑰屼繚鎶ら榾闂ㄣ€佹車絳夎澶囥€?/p>
鍙屾硶鍏版澗濂椾紶鍔涙帴澶村畨瑁呰鏄?/strong>
鍙屾硶鍏版澗濂椾紶鍔涙帴澶撮€傜敤涓よ竟閮芥槸娉曞叞鐨勮繛鎺ユ柟寮忥紝瀹夎鏃惰皟鑺備駭鍝佷袱绔笌綆¢亾鎴栨硶鍏扮殑瀹夎闀垮害錛屽畨瑁呭拰鐒婃帴瀹屾瘯鍚庯紝瀵硅渚濇鍧囧寑鎷х揣鍘嬬洊铻烘爴錛屼嬌鍏舵垚涓轟竴涓暣浣擄紝騫舵湁涓€瀹氱殑浣嶇Щ閲忥紝鏂逛究瀹夎緇翠慨錛屽彲鏍規嵁鐜板満灝哄榪涜璋冩暣銆傚湪宸ヤ綔鏃跺彲浠ユ妸杞村悜鎺ㄥ姏浼犻€掕嚦鏁翠釜綆¢亾銆?/p>
鏉懼浼犲姏鎺ュご鐨勬潗璐細涓昏鏈塓235紕抽挗銆佷笉閿堥挗銆侀摳閽€佺悆澧ㄩ摳閾佺瓑銆備笉鍚岀殑鐢ㄩ€旈€夌敤涓嶅悓鐨勬潗璐ㄥ拰鍨嬪彿銆?/p>
鏉懼浼犲姏鎺ュご鍒嗙被鏈夛細鍗曞彂鍏版澗濂椾紶鍔涙帴澶淬€佸弻娉曞叞鏉懼浼犲姏鎺ュご銆佸彲鎷嗗紡鍙屾硶鍏版澗濂椾紶鍔涙帴澶淬€?/p>
鍙屾硶鍏版澗濂椾紶鍔涙帴澶撮€傜敤鑼冨洿錛?/strong>
鍙屾硶鍏版澗濂椾紶鍔涙帴澶撮€傜敤浜庤緭閫佹搗姘淬€佹貳姘淬€佸喎鐑按銆侀ギ鐢ㄦ按銆佺敓媧繪薄姘淬€佸師娌廣€佺噧娌廣€佹鼎婊戞補銆佹垚鍝佹補銆佺┖姘斻€佺叅姘斻€佹俯搴︿笉楂樹簬250搴︾殑钂告苯鍜岄綺掔矇鐘剁瓑浠嬭川銆?/p>
鍏О閫氬緞 錛わ籍 | 綆″瓙澶栧緞 Dw | 娉曞叞榪炴帴灝哄 | 瀵嗗皝闈?/span> d | 鎬婚暱 L | 瀹夎 灝哄 L1 | 璋冭妭閲?span style="color: rgb(255, 255, 255); font-family: 寰蔣闆呴粦,Microsoft YaHei; font-size: 20px;">鈻?/span> | 璐ㄩ噺 kg | ||||
娉曞叞 澶栧緞 D | 铻烘爴瀛斾腑蹇冨渾鐩村緞 K | 铻烘爴 瀛斿緞 d0 | 铻烘爴 | ||||||||
| n錛堜釜錛?/span> | Th. | ||||||||||
65 | 76 | 160 | 130 | 14 | 4 | M12 | 110 | 290 | 200 | 20 | 11.8 |
80 | 89 | 190 | 150 | 18 | M16 | 128 | 330 | 13.5 | |||
100 | 114 | 210 | 170 | 148 | 18.6 | ||||||
125 | 140 | 240 | 200 | 8 | 178 | 23.8 | |||||
150 | 168 | 265 | 225 | 202 | 30.4 | ||||||
200 | 219 | 320 | 280 | 258 | 36.9 | ||||||
250 | 273 | 375 | 335 | 12 | 312 | 49.6 | |||||
300 | 325 | 440 | 395 | 22 | M20 | 365 | 370 | 220 | 25 | 61.5 | |
350 | 377 | 490 | 445 | 415 | 79.3 | ||||||
400 | 426 | 540 | 495 | 16 | 465 | 91.2 | |||||
450 | 480 | 595 | 550 | 520 | 104.1 | ||||||
500 | 530 | 645 | 600 | 20 | 570 | 123.2 | |||||
600 | 630 | 755 | 705 | 26 | M24 | 670 | 400 | 240 | 169.8 | ||
700 | 720 | 860 | 810 | 24 | 775 | 208.9 | |||||
800 | 820 | 975 | 920 | 30 | M27 | 880 | 540 | 350 | 30 | 346.1 | |
| 900 | 920 | 1075 | 1020 | 980 | 380.6 | ||||||
| 1000 | 1020 | 1175 | 1120 | 28 | 1080 | 438.8 | |||||
| 1200 | 1220 | 1405 | 1340 | 33 | 32 | M30 | 1295 | 580 | 370 | 646.7 | |
| 1400 | 1420 | 1630 | 1560 | 36 | 36 | M33 | 1510 | 843.6 | |||
| 1600 | 1620 | 1830 | 1760 | 40 | 1710 | 600 | 380 | 1189.7 | |||
| 1800 | 1820 | 2045 | 1970 | 39 | 44 | M36 | 1920 | 1394.8 | |||
| 2000 | 2020 | 2265 | 2180 | 42 | 48 | M39 | 2125 | 660 | 400 | 1665.5 | |
| 2200 | 2220 | 2475 | 2390 | 52 | 2335 | 2056.7 | |||||
| 2400 | 2420 | 2685 | 2600 | 56 | 2545 | 2350.1 | |||||
| 2600 | 2620 | 2905 | 2810 | 48 | 60 | M45 | 2750 | 750 | 450 | 40 | 2720.4 |
| 2800 | 2820 | 3115 | 3020 | 64 | 2960 | 3053.2 | |||||
| 3000 | 3020 | 3315 | 3220 | 68 | 3160 | 3460.3 | |||||
| 3200 | 3220 | 3525 | 3430 | 72 | 3370 | 3912.6 | |||||
| 3400 | 3420 | 3735 | 3640 | 76 | 3580 | 4122.0 | |||||
| 3600 | 3620 | 3970 | 3860 | 56 | 80 | M52 | 3790 | 4460.0 | |||
濡傞渶鏈€鏂版暟鎹鑱旂郴鍦ㄧ嚎瀹㈡湇
娌沖崡鑹紬綆′笟鏈夐檺鍏徃 鎵嬫満鍙鳳細18638277136 鍥鴻瘽錛?371-64018718 浼犵湡錛?nbsp;0371-64018718 閭錛?50165323@qq.com 鍦板潃錛氬琺涔夊競瑗挎潙闀囪タ鏉?nbsp; 緗戝潃錛?a href="http://www.cyber-wise.com.cn" target="_self">http://www.cyber-wise.com.cn